Welcome
Guest
, •
Login
Wiki Home
|
VintageMachinery.org Home
|
OWWM.org Home
|
Donate
Search the Wiki:
»
Navigation
¶
Main Page
Random Page
Create a new Page
All Pages
Categories
File Management
Create Account
Help Topics
Search the wiki
»
Discuss (0)
View Page Code
History
Delta/Rockwell Wood / Blade Guard
Print
RSS
Modified on 2020/04/09 21:24
by
Jeff Joslin
Categorized as
Bandsaws
»
Tips, tricks and a little PM (Pure magic)
»
Delta/Rockwell Wood / Blade Guard
[X]
»
Tips, tricks and a little PM (Pure magic)
»
Delta/Rockwell Wood / Blade Guard
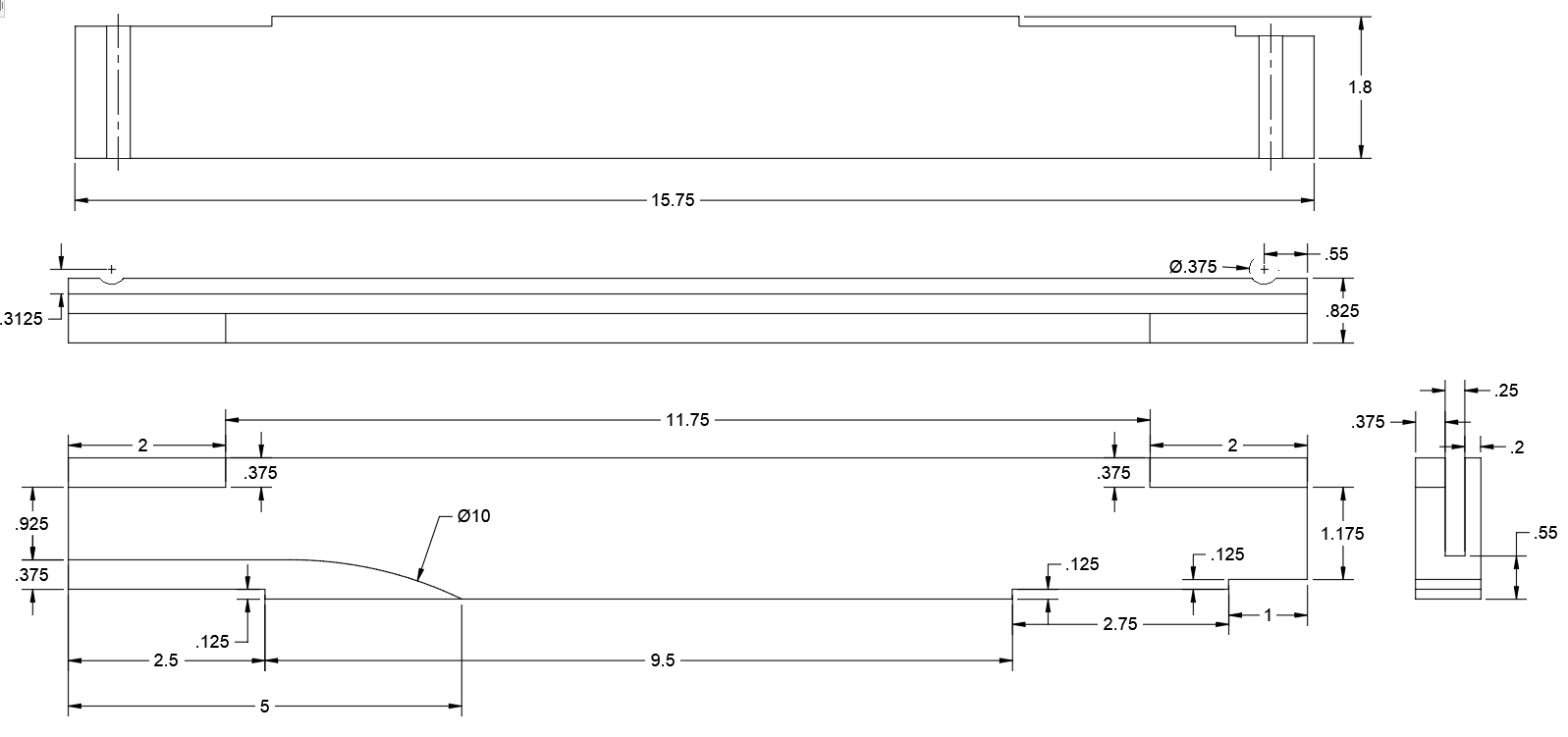
I made a new wood guard for the left side of the common 14" band saws. I thought this information would be useful since it is a fairly easy part to recreate. All dimensions are in inches. Picture scale is 3:4
ScrewTurn Wiki
version 3.0.5.600. Some of the icons created by
FamFamFam
.